Asus ROG Phone 6 renders reveal design and accessories

Asus will launch the ROG (Republic of Gamers) Phone 6 on July 5, and we expect it to be one of the first devices with a Snapdragon 8+ Gen 1 chipset on the market. We already saw the design on TENAA, but today a new leak essentially confirmed it. It also gave us a sneak peek of the new AeroActive cooler and a protective case that neatly wraps around the camera.
From Gsmarena
Apple Patents Dual ‘Pro Stand’ for Studio Display and Pro Display XDR

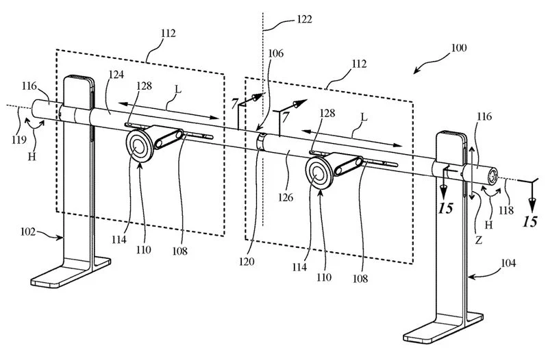
Apple has won a patent for a dual monitor stand that appears to be based on the “Pro Stand” design option for the Studio Display and Pro Display XDR.
The patent filing first surfaced in 2020, but now the United States Patent and Trademark Office has officially granted Apple the patent. The granted patent, spotted by Patently Apple, is simply titled “Dual Display Stand,” and details a mechanical design that seeks to address the shortcomings of existing multi-display solutions, offering easy and precise adjustment for up to two external displays.
The filing outlines a large display stand with two spaced-apart legs, connected by a horizontal support bar that allows two displays to be mounted. The stand allows for a high level of precise adjustment and control, with vertical, horizontal, and center pivot degrees of freedom
From Macrumors
HTC’s first new phone this year is the metaverse-focused Desire 22 Pro

HTC has introduced a new phone with metaverse-focused features, like it promised earlier this month. The HTC Desire 22 Pro supports HTC’s Viverse ecosystem and will allow users to visit communities even without VR devices using their browsers. It’s also compatible with the company’s $499 Vive Flow VR headset and can be paired with the device if users want to explore experiences, watch movies and TV or even just access their apps in virtual reality. As Engadget Chinese notes, though, aside from its metaverse-focused offerings, the phone is firmly mid-range.
The HTC Desire 22 Pro has a 6.6-inch display with a 1,080 x 2,412 pixel resolution and a 120 Hz refresh rate. It’s powered by a Qualcomm Snapdragon 695 5G chip, a mid-range SoC, has 8GB of RAM and 128GB of storage. The device has a 4,520 mAh battery and offers reverse wireless charging. Plus, it has a three-camera system at the back, with a 65-megapixel main, 13-megapixel ultrawide and 5-megapixel depth-sensing cameras. For selfies, the phone has a 32-megapixel front-facing camera.
From Engadget
Potential Huawei Mate 50 Pro design leaks in case renders

Huawei’s roadmap was thrown into disarray by trade sanctions, so despite several rumors saying “maybe” there was no Mate 50 last year. The company hasn’t given up, however, in February a VP confirmed that a new Mate series is coming eventually. And here is what it might look like.
These are renders of the Huawei Mate 50 Pro, created by case makers. The design still places the cameras on a circular island in the middle instead of going for the two circle look of the P50 series. There will be no Leica logo in the middle this year. The P50 Pocket didn’t have one either and it showed that Huawei hasn’t forgotten how to make good cameras overnight.
From Gsmarena
iQOO 10 BMW version’s render surfaces

iQOO is expected to unveil the iQOO 10 and iQOO 10 Pro next month, and we recently heard that the lineup will be the first to have the Dimensity 9000+ SoC at the helm. While there’s no word from iQOO about these smartphones yet, reliable tipster Digital Chat Station has shared an image of the iQOO 10’s BMW version, revealing its design.
iQOO has taken a different approach this time with the BMW version compared to previous BMW edition smartphones – called Legend in India – since there are no vertical BMW-colored stripes on the phone’s back panel. Instead, we now have horizontal stripes spanning the smartphone’s width, with a center-aligned iQOO logo below.
From Gsmarena
Infinix teases 180W Thunder Charge system
Last year we tested a concept phone from Infinix with a 160W fast charging system. The company has continued working on battery tech since then and has pushed the charge rate even higher. Here is a quick teaser video posted by CEO Benjamin Jiang.
Infinix calls this new system “Thunder Charge” and based on the onscreen label, it has a peak power rating of 180W. The clip is only around 10 seconds long but the battery indicator goes up by nearly a full percentage point.
From Gsmarena
Here are the specs and prices of the Nothing Phone 1

Yet another Nothing Phone 1 leak has come about. A website called RootMyGalaxy has corroborated the leaked specs of the device mentioned below. However, it has also published the possible prices of the phone’s different variants.
As per the leak, the Nothing Phone 1 will start at Rs 31,000 (~$393) in India for the version with 8GB RAM and 128GB storage. It is also expected to have an 8GB/256 GB version priced at Rs 32,000 (~$406) and a 12GB/256GB variant that supposedly costs Rs 36,000 (~$457).
The Nothing Phone 1 is all set to launch on July 12. While the company already revealed its biggest hand, i.e., the Glyph interface, we now have the possible specs of the device thanks to a new leak.
Folks over at 91Mobiles teamed up with tipster Yogesh Brar to key hardware details of the Nothing Phone 1. The publication reports that the device will feature a 120Hz OLED display, to begin with. High refresh rate screens are pretty standard these days so we’re not really surprised.
There were already rumors about the fact that the Nothing Phone 1 is a mid-range device. The leak claims it’ll draw power from the Snapdragon 778G Plus chip paired with 8GB of RAM.
A 4,500mAh battery with 45W charging seems to be on the cards.
For imaging, Brar claims the Nothing Phone 1 will feature a 50MP + 16MP dual-camera setup at the back. A 16MP shooter might take care of selfies.
From Android Authority
Qualcomm accidentally reveals Snapdragon 8 Gen 2 launch date

Qualcomm usually unveils its new flagship chipset on the first weekend of December but this year we expect it two weeks earlier. The official website of the San Diego chip company scheduled a Snapdragon Summit for November 14-17, which is likely when we’ll see the new Snapdragon 8 Gen 2.
The event was later taken down from the website, and while it could be a false flag, we are keen to believe the chip is really coming in November. That would allow makers like Xiaomi and Motorola to get into the race of being the first maker to launch a phone with the new chip.
Qualcomm does not unveil the date for its summit in Hawaii as early as five months ahead, so we believe it was a true slip-up by the team in California. There is still enough time for the rumor mill to keep going and allow us to piece the puzzle of the SM8550 platform. The first rumors suggested an unusual 1+2+2+3 CPU combo with one Cortex-X3 unit, two Cortex-A720, two A710, and three A510.
From Gsmarena
Elon Musk now has over 100 million Twitter followers

Elon Musk just passed the 100 million follower mark on Twitter, becoming the sixth user on the platform to reach a nine-digit follower count. According to SocialBlade, Musk hit the milestone sometime between June 26th and June 27th, gaining over 150,000 followers between the two days. As of this writing, Musk now has 100,059,886 followers.
Hitting the milestone is interesting for a couple of reasons. First is the obvious fact that Musk is currently in the process of buying Twitter for $44 billion, which could eventually put him in the unique position of being the only leader of a major social media network who’s actually good at using their social media network. In contrast, Meta CEO Mark Zuckerberg’s Facebook page is broadly a feed of press releases, while Instagram head Adam Mosseri has a similarly saccharine presence on the platform he manages.
From The Verge
Brain-machine interface helped a man with paralysis feed himself using robotic arms

People with arm paralysis might easily feed themselves in the future. Johns Hopkins University-led researchers have developed a new technique that let a partially paralyzed man feed himself using robotic arms connected through a brain-machine interface. He only had to make small movements with his fists at certain prompts (such as “select cut location”) to have the fork- and knife-equipped arms cut food and bring it to his mouth. He could have dessert within 90 seconds, according to the researchers.
The new method centers on a shared control system that minimizes the amount of mental input required to complete a task. He could map his four-degree freedom of movement (two for each hand) to as many as 12 degrees of freedom for controlling the robot arms. The limbs’ prompt-based intelligent responses also reduced the workload.
From Engadget
