More OnePlus Nord CE 2 details leak as phone gets certified on TUV

The OnePlus Nord CE 2 is expected to arrive on February 11. It will be the more affordable version of the Nord 2 and the phone just got certified at TUV Rheinland.
The listing reveals the device with model number IV2201 will have a 4,450 mAh battery that will support 65W fast charging (10V/6.5A).
In the meantime, Camera FV5 revealed the very same handset will yield 16MP photos, which is likely the result of pixel-binning from a 6 MP sensor.
From Gsmarena
Tecno Pop 5S goes official with 5.7″ LCD and Android 10 Go

The latest budget offering in Tecno’s Pop line is here with the brand new Pop 5S which launched in Mexico. The device comes with a 5.7-inch HD+ LCD, dual cameras around the back and boots Android 10 (Go edition).
You get a 2MP front-facing camera with its own dedicated flash while the back features a 5MP main cam alongside a QVGA auxiliary module. There’s an unnamed quad-core chipset at the helm (likely Unisoc’s SC9832E) alongside 2GB RAM and 32GB storage. You also get a 3,020mAh battery that charges over microUSB and a headphone jack.
Tecno Pop 5S comes in Light Purple comes in Deep Blue colors and retails for MXN 2,239 ($108).
From Gsmarena
Oppo Find X5 Pro leaks reveal all about the upcoming flagship phone

We now know a lot more about the Pro version of the Oppo Find X5 that’s on the way, assuming that the newly leaked information that just arrived online is accurate – and it comes from a usually reliable source.
That source is WinFuture, and the leak covers everything from internal specs to phone renders. As previously expected, the phone is being tipped to come with the Snapdragon 8 Gen 1 processor inside, like a lot of the Android flagships launching in 2022.
That chipset will apparently be joined by 12GB of RAM and 256GB of internal storage (which can’t be expanded via memory card). The battery capacity is said to be 5,000mAh, so battery life shouldn’t be a problem on this smartphone, with 80W maximum charging.
From Techradar
First real Galaxy Tab S8 Ultra photo offers best look yet at notch and bezels

The first real photo of the Galaxy Tab S8 Ultra is here, and it’s not shying away from highlighting the dual-camera display notch. The bezels are as thin as you’d expect, and indeed, the Galaxy Tab S8 Ultra is very much on the large side, boasting a generous 14.6-inch display with a 16:10 aspect ratio.
In case you’re wondering, the Galaxy Tab S8 series is not yet available for purchase, even though the photo appears to have been taken inside a retail store. Samsung will unveil the Galaxy Tab S8 Ultra on stage at Unpacked 2022 on February 9.
From Sammobile
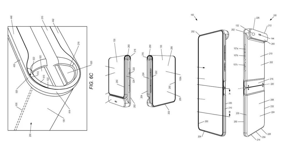
Motorola foldable phone patent shows a reverse Razr with an outer screen

We haven’t seen a new Moto folding phone since the 2020 Motorola Razr, and while we’re hoping for a new Razr for 2022, we don’t know for sure it’s coming. In the meantime though, a new patent from the company shows us a foldable that we really hope won’t be the next Razr.
Motorola has been granted a patent for a new type of clamshell foldable, as spotted by MySmartPrice, which shows a large main display that’s on the outside of the phone, not the inside, when it’s folded.
The rest of the patent details the folding hinge, and it also shows a large bump that presumably houses the rear cameras.
It’s a futuristic-looking device, even compared to other foldable phones we’ve seen on the market, but that’s probably because it’s a patent sketch.
From Techradar
Samsung’s New Galaxy Phones Will Feature a Material Made Out of Discarded Fishing Nets

Your next Samsung Galaxy will feature a new material made of repurposed, discarded fishing nets that otherwise would have ended up in the oceans. There’s just one mystery: It’s not exactly clear what that material is. Consequently, we also don’t know how it will incorporated into the phone—if it’s actually in the phone—its accessories, or its packaging.
Samsung revealed its new “creative” material in a news announcement on Sunday. The mystery comes ahead of its Galaxy Unpacked event this upcoming Wednesday, where it’s expected to release its new flagship series, the Galaxy S22. According to the company, it will incorporate repurposed ocean-bound plastics throughout its entire product lineup “now and into the future,” starting with the new Galaxy devices launching at Unpacked.
“These devices will reflect our ongoing effort to eliminate single-use plastics and expand the use of other eco-conscious materials, such as recycled post-consumer material (PCM) and recycled paper,” Samsung said in the news release.
From Gizmodo
Realme claims that the Realme 9 Pro Plus can capture flagship level photos at par with the Pixel 6, Galaxy S21 Ultra, and Xiaomi 12

Realme’s upcoming mid-range smartphones — Realme 9 Pro and Realme 9 Pro Plus are right around the corner. To build the hype around the upcoming series of phones, Realme is conducting a Camera Lab event that gives us an early look at the camera system on the Realme 9 Pro Plus. For those wondering, this is where Realme is comparing photos shot on the Realme 9 Pro Plus with those shot on flagship phones like the Google Pixel 6, Xiaomi 12, and Samsung Galaxy S21 Ultra. The main motive is to establish that the Realme 9 Pro Plus can click flagship-level photos that are at par with some of the best camera phones, even though it comes at a fraction of the price.
When you head over to the Camera Lab page, you will see four phones — the Google Pixel 6, Xiaomi 12, Samsung Galaxy S21 Ultra, and Realme 9 Pro Plus with the camera UI displayed on top of each device. This is to compare how the same image looks on each of the four phones. Taking a close look at the four images will reveal that the Realme 9 Pro Plus captures photos that are similar to the other flagship phones. The colors are slightly boosted and saturated on the Realme 9 Pro Plus compared to the other devices.
From XDA
AMD RDNA 3 leak suggests a whole new design for a faster flagship GPU

AMD’s next-gen graphics cards could have more than one chip on-board, at least for higher-end models, the rumor mill is suggesting.
We’ve heard that AMD might go this route with RDNA 3 cards before – rumors like this one based on a patent were circulating at the start of 2021, and were followed by further speculation – so this isn’t exactly a surprise.
What’s interesting about this tweet from Blue Nugroho – an Indonesian leaker, though not a source we’ve encountered before – is that it pulls details from the LinkedIn profile of an AMD employee who works as an Infinity Data Fabric Silicon Design engineer.
As you can see in the tweet, the profile shows the staff member has worked on previous AMD GPUs including Big Navi, and also lists Navi 31, 32 and 33 under their projects, meaning next-gen RDNA 3 cards.
The interesting bit – and note the details have now been yanked down from LinkedIn, but can be seen via Blue Nugroho’s screen grab – is that Navi 31 and 32, the top two GPUs for the next-gen, are listed as 5nm and 6nm (whereas Navi 33 is 6nm only).
This suggests that Navi 33 will be monolithic, meaning it’s built with one chip – a single GPU as normal – but the higher-end models will have multiple chips, or what’s called an MCM design (multi-chip module), using both 5nm and 6nm processes.
From Techradar
Gurman: Apple Event on March 8, At Least Four M2 Macs to Launch Later This Year

Gurman said Apple also plans to launch at least one new Mac this spring, but it’s unclear if that Mac would be introduced at Apple’s event. This new Mac could be a high-end Mac mini powered by the M1 Pro and M1 Max chips, as an Apple silicon replacement for the 27-inch iMac is not expected to launch until as late as August or September.
Apple has at least four new Macs powered by M2 chips in its pipeline, including refreshed models of the MacBook Air, entry-level 13-inch MacBook Pro, 24-inch iMac, and entry-level Mac mini, according to Gurman. It’s likely these Macs will launch later in the year after Apple finishes releasing its final Macs with M1 Pro and M1 Max chips.
Gurman believes Apple will remove the Touch Bar from the new entry-level MacBook Pro, and he expects the notebook will lack a ProMotion display.
From Macrumors
Meta says it may be forced to shut down Facebook and Instagram in Europe

A new EU law requires companies that gather user data within the union to keep and process that data on European servers. Facebook’s and Instagram’s data, however, is processed on both US and European servers, which is crucial for ad targeting and businesses that operate on those social platforms.
In the report submitted to Securities and Exchange Commission, Meta suggests that if the company fails to comply with the new EU regulations, it will simply stop providing its Facebook and Instagram services within the union. Meta’s VP of Global Affairs, Nick Clegg, argues that this would be detrimental to a lot of businesses in the EU that rely on the services and ads the company provides.
Last week’s financial report sent Meta’s stock plummeting by 25% after the company lost daily active users for the first time in its history. This means the company is likely just trying to put itself in a more beneficial negotiation position instead of actually planning on actually acting up on its threats.
From Gsmarena
